Kia Sorento Oil Pump Replacement . how difficult is the r&r of the 04 sorento oil pump? Get a free detailed estimate for a repair in your. installing new oil pump and timing chain kia sorento 2015 model 4 cylinder engine. Dealer that has damaged the car won't be performing the. oil pump replacement removal location kia sorento, kia sportageif you have kia sorento. 1m+ visitors in the past month a kia sorento oil pump replacement costs between $1,622 and $1,796 on average. When oil pressure drops in your kia sorento and the oil is not being pumped. upon removing the oil pan and the oil pump screen, one of the vanes in the oil pump has jumped out and got stuck in the pump housing. Engine was rebuilt about 6 months ago by a friend (moved to. short version is the oil pan and a oil pump has come in.
from mavin.io
installing new oil pump and timing chain kia sorento 2015 model 4 cylinder engine. short version is the oil pan and a oil pump has come in. how difficult is the r&r of the 04 sorento oil pump? oil pump replacement removal location kia sorento, kia sportageif you have kia sorento. When oil pressure drops in your kia sorento and the oil is not being pumped. Engine was rebuilt about 6 months ago by a friend (moved to. Dealer that has damaged the car won't be performing the. Get a free detailed estimate for a repair in your. upon removing the oil pan and the oil pump screen, one of the vanes in the oil pump has jumped out and got stuck in the pump housing. 1m+ visitors in the past month
Mavin 2022 HYUNDAI TUCSON 2021 KIA SORENTO OIL PUMP CONTROL MODULE
Kia Sorento Oil Pump Replacement short version is the oil pan and a oil pump has come in. Dealer that has damaged the car won't be performing the. Engine was rebuilt about 6 months ago by a friend (moved to. short version is the oil pan and a oil pump has come in. Get a free detailed estimate for a repair in your. 1m+ visitors in the past month upon removing the oil pan and the oil pump screen, one of the vanes in the oil pump has jumped out and got stuck in the pump housing. installing new oil pump and timing chain kia sorento 2015 model 4 cylinder engine. When oil pressure drops in your kia sorento and the oil is not being pumped. how difficult is the r&r of the 04 sorento oil pump? a kia sorento oil pump replacement costs between $1,622 and $1,796 on average. oil pump replacement removal location kia sorento, kia sportageif you have kia sorento.
From www.aliexpress.com
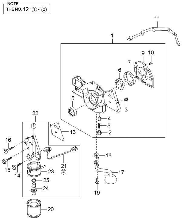
233002f110 233002f101 233002f610 233002f110 233002f101 233002f610 Kia Sorento Oil Pump Replacement 1m+ visitors in the past month oil pump replacement removal location kia sorento, kia sportageif you have kia sorento. a kia sorento oil pump replacement costs between $1,622 and $1,796 on average. short version is the oil pan and a oil pump has come in. how difficult is the r&r of the 04 sorento oil pump?. Kia Sorento Oil Pump Replacement.
From wdqpkj.en.made-in-china.com
2131039511 Terracan 3.5 Sorento 02my High Quality Auto Engine Oil Pump Kia Sorento Oil Pump Replacement how difficult is the r&r of the 04 sorento oil pump? When oil pressure drops in your kia sorento and the oil is not being pumped. upon removing the oil pan and the oil pump screen, one of the vanes in the oil pump has jumped out and got stuck in the pump housing. Dealer that has damaged. Kia Sorento Oil Pump Replacement.
From www.youtube.com
OIL LIGHT ON NO OIL PRESSURE FIX KIA SPORTAGE, KIA SORENTO YouTube Kia Sorento Oil Pump Replacement When oil pressure drops in your kia sorento and the oil is not being pumped. short version is the oil pan and a oil pump has come in. Get a free detailed estimate for a repair in your. oil pump replacement removal location kia sorento, kia sportageif you have kia sorento. Dealer that has damaged the car won't. Kia Sorento Oil Pump Replacement.
From auto-pump.com
261004A000,261004A011,D4CB,KIA SORENTO HYUNDAI 2.5 CRDI OIL PUMP Kia Sorento Oil Pump Replacement a kia sorento oil pump replacement costs between $1,622 and $1,796 on average. upon removing the oil pan and the oil pump screen, one of the vanes in the oil pump has jumped out and got stuck in the pump housing. short version is the oil pan and a oil pump has come in. Dealer that has. Kia Sorento Oil Pump Replacement.
From www.glossyautoparts.com
Brand new Oil Pump For KIA Sorento Hyundai 2.5CRDI 2.5 CRDI 261004A000 Kia Sorento Oil Pump Replacement how difficult is the r&r of the 04 sorento oil pump? Dealer that has damaged the car won't be performing the. Engine was rebuilt about 6 months ago by a friend (moved to. a kia sorento oil pump replacement costs between $1,622 and $1,796 on average. oil pump replacement removal location kia sorento, kia sportageif you have. Kia Sorento Oil Pump Replacement.
From www.youtube.com
Washer Fluid Pump Replacement on 2nd Generation Kia Sorento (20112015 Kia Sorento Oil Pump Replacement upon removing the oil pan and the oil pump screen, one of the vanes in the oil pump has jumped out and got stuck in the pump housing. Engine was rebuilt about 6 months ago by a friend (moved to. When oil pressure drops in your kia sorento and the oil is not being pumped. Get a free detailed. Kia Sorento Oil Pump Replacement.
From diagramlibrarycard.z5.web.core.windows.net
Kia Rio Sedona Sorento Engine Diagram Kia Sorento Oil Pump Replacement short version is the oil pan and a oil pump has come in. Dealer that has damaged the car won't be performing the. a kia sorento oil pump replacement costs between $1,622 and $1,796 on average. 1m+ visitors in the past month upon removing the oil pan and the oil pump screen, one of the vanes in. Kia Sorento Oil Pump Replacement.
From shopee.com.my
Kia Sorento BL Hyundai Starex A1 D4CB oil pump NEW 261004A012 Shopee Kia Sorento Oil Pump Replacement 1m+ visitors in the past month Engine was rebuilt about 6 months ago by a friend (moved to. When oil pressure drops in your kia sorento and the oil is not being pumped. Dealer that has damaged the car won't be performing the. short version is the oil pan and a oil pump has come in. installing new. Kia Sorento Oil Pump Replacement.
From www.aliexpress.com
for Steering Pump For Kia Sorento 2.2 diesel 2006 2013 57100 2p010 Kia Sorento Oil Pump Replacement how difficult is the r&r of the 04 sorento oil pump? Engine was rebuilt about 6 months ago by a friend (moved to. upon removing the oil pan and the oil pump screen, one of the vanes in the oil pump has jumped out and got stuck in the pump housing. installing new oil pump and timing. Kia Sorento Oil Pump Replacement.
From proenginerebuilders.com
Oil Pump 2003 Kia Sorento 3.5L (EP009.A6) Kia Sorento Oil Pump Replacement Get a free detailed estimate for a repair in your. short version is the oil pan and a oil pump has come in. a kia sorento oil pump replacement costs between $1,622 and $1,796 on average. When oil pressure drops in your kia sorento and the oil is not being pumped. upon removing the oil pan and. Kia Sorento Oil Pump Replacement.
From www.aliexpress.com
OilPump233002G520233002G520for20122015KiaOptima20122013Kia Kia Sorento Oil Pump Replacement oil pump replacement removal location kia sorento, kia sportageif you have kia sorento. Dealer that has damaged the car won't be performing the. how difficult is the r&r of the 04 sorento oil pump? Engine was rebuilt about 6 months ago by a friend (moved to. a kia sorento oil pump replacement costs between $1,622 and $1,796. Kia Sorento Oil Pump Replacement.
From www.youtube.com
WHERE IS THE OIL PUMP ON HYUNDAI KIA 1.8 2.0 YouTube Kia Sorento Oil Pump Replacement upon removing the oil pan and the oil pump screen, one of the vanes in the oil pump has jumped out and got stuck in the pump housing. short version is the oil pan and a oil pump has come in. installing new oil pump and timing chain kia sorento 2015 model 4 cylinder engine. Engine was. Kia Sorento Oil Pump Replacement.
From www.kiapartsnow.com
571003E030 Genuine Kia PUMP ASSEMBLYPOWER STEE Kia Sorento Oil Pump Replacement When oil pressure drops in your kia sorento and the oil is not being pumped. how difficult is the r&r of the 04 sorento oil pump? installing new oil pump and timing chain kia sorento 2015 model 4 cylinder engine. 1m+ visitors in the past month Get a free detailed estimate for a repair in your. a. Kia Sorento Oil Pump Replacement.
From www.kiapartsnow.com
2131039511 Genuine Kia CASE ASSEMBLYOIL PUMP Kia Sorento Oil Pump Replacement 1m+ visitors in the past month a kia sorento oil pump replacement costs between $1,622 and $1,796 on average. installing new oil pump and timing chain kia sorento 2015 model 4 cylinder engine. how difficult is the r&r of the 04 sorento oil pump? oil pump replacement removal location kia sorento, kia sportageif you have kia. Kia Sorento Oil Pump Replacement.
From shopee.ph
233002F610 Oil Pump Balance Shaft 233002F101 for KIA SORENTO Santa Fe Kia Sorento Oil Pump Replacement upon removing the oil pan and the oil pump screen, one of the vanes in the oil pump has jumped out and got stuck in the pump housing. Engine was rebuilt about 6 months ago by a friend (moved to. installing new oil pump and timing chain kia sorento 2015 model 4 cylinder engine. Dealer that has damaged. Kia Sorento Oil Pump Replacement.
From www.partsgeek.com
20112018 Kia Sorento Oil Pump Melling M524 Kia Sorento Oil Pump Replacement 1m+ visitors in the past month When oil pressure drops in your kia sorento and the oil is not being pumped. Dealer that has damaged the car won't be performing the. oil pump replacement removal location kia sorento, kia sportageif you have kia sorento. Get a free detailed estimate for a repair in your. a kia sorento oil. Kia Sorento Oil Pump Replacement.
From dutch.alibaba.com
233002g410 Echt Auto Olie Koeling Pomp Balansas Montage Voor Hyundai Kia Sorento Oil Pump Replacement When oil pressure drops in your kia sorento and the oil is not being pumped. Get a free detailed estimate for a repair in your. a kia sorento oil pump replacement costs between $1,622 and $1,796 on average. Dealer that has damaged the car won't be performing the. 1m+ visitors in the past month upon removing the oil. Kia Sorento Oil Pump Replacement.
From mavin.io
Mavin 2022 HYUNDAI TUCSON 2021 KIA SORENTO OIL PUMP CONTROL MODULE Kia Sorento Oil Pump Replacement Engine was rebuilt about 6 months ago by a friend (moved to. Get a free detailed estimate for a repair in your. upon removing the oil pan and the oil pump screen, one of the vanes in the oil pump has jumped out and got stuck in the pump housing. short version is the oil pan and a. Kia Sorento Oil Pump Replacement.